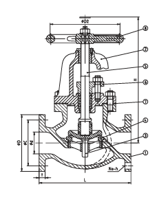
F7353 Cast Iron 5K Screw-down Check Globe Valves F7375 Cast Iron 10K Screw-down Check Globe Valves F7377 Cast Iron 16K Screw-down Check Globe Valves
Freya
Sales Manager
Hey, welcome ! Contact me anytime for your quesitons or suggestions!